品牌:湘龙
材质:不锈钢
测量范围:所有安全帽
起订:1台
供应:1000台
发货:11天内
| 材质 | 不锈钢 |
|---|---|
| 测量范围 | 所有安全帽 |
| 测量精度 | 01 |
| 产品名称 | 安全帽防静电测试试验机 |
| 产品用途 | 检测安全帽 |
| 电源 | 220.0 |
| 电源电压 | 220(V) |
| 封装 | DIP |
| 规格 | FA2004B |
| 类型 | 安全帽测试 |
| 批号 | 11+ |
| 认证 | ISO9001 |
| 售后服务 | 保修一年 |
| 外形尺寸 | 1(mm) |
| 扬程 | 无 |
| 重量 | 400(kg) |
| 结构型式 | 台式 |
| 品牌 | 湘龙 |
| 型号 | XL168-AN-002 |
| 加工定制 | 是 |
| 产品上市时间 | 2013年春 |
| 打样周期 | 1-2天 |
| 工作电源电压 | 220V |
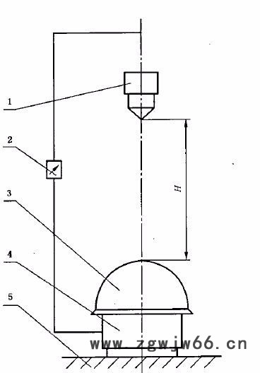
安全帽防静电测试试验机
安全帽防静电测试仪专门检测安全帽防静电性能。
执行标准:GB/T 2812-2006《安全帽测试方法》内的防静电测试标准要求。GB/T 2811-2007《安全帽》。
预处理方法
调温调湿:将安全帽放置在温度20℃±2℃相对湿度50%±5%的环境中,不小于24h。
安全帽防静电测试仪测试方法
安全帽经预处理后,将两条电极贴敷在安全帽较平坦的部位,电极应平行放置,间距为10mm±0.5mm,电极与安全帽之间用导电胶粘接, 导电胶的电阻值应<1KΩ;将高阻计的测量端接至电极,读取高阻计显示的电阻值;然后交换电极重复测试一次,并记录显示的数值;两次测量读数的平均值即为实际测得的表面电阻率。
规格参数:
| 电极 | 长度100mm±1mm,宽度为1mm±0.1mm,材质为金属箔。 |
| 导电胶 | 电阻值应<1KΩ。 |
| 高阻计示值误差 | ±1% |
| 电压 | 100V DC |




