品牌:湘龙
材质:不锈钢
测量范围:所有安全帽
起订:1台
供应:1000台
发货:15天内
| 材质 | 不锈钢 |
|---|---|
| 测量范围 | 所有安全帽 |
| 测量精度 | 0.1 |
| 产品名称 | 安全帽冲击耐穿透性能测试试验机 |
| 产品用途 | 安全帽检测设备 |
| 电源 | 220.0 |
| 电源电压 | 220(V) |
| 封装 | SOP |
| 规格 | FA2004B |
| 类型 | 安全帽检测设备 |
| 批号 | 11+ |
| 认证 | CCC |
| 售后服务 | 保修一年 |
| 外形尺寸 | 1(mm) |
| 扬程 | 无 |
| 重量 | 400(kg) |
| 结构型式 | 台式 |
| 品牌 | 东莞湘龙 |
| 型号 | XL168-AN-001 |
| 加工定制 | 是 |
| 产品上市时间 | 2013年春 |
| 打样周期 | 1-2天 |
| 工作电源电压 | 220V |
安全帽耐冲击、穿透性能试验机用途:
安全帽耐冲击、穿透性能试验机专用于检测安全帽耐冲击吸收性能和穿刺性能。测试前须对被测试安全帽进行浸水、高温、低温、紫外线照射预处理.
安全帽耐冲击、穿透性能试验机适用标准;
安全帽耐冲击、穿透性能试验机执行标准:GB/T 2812-2006《安全帽测试方法》内的安全帽冲击吸收性能和耐穿刺性能测试标准要求,及GB/T 2811-2007《安全帽》。
安全帽耐冲击、穿透性能试验机预处理方法:
①?浸水处理:将安全帽放在温度为20℃±2℃的新鲜自来水槽里、完全浸泡3h。
②?高低温处理:将安全帽分别放在50℃±2摄氏度, -10℃±2℃或-20℃±2℃的温度调节箱中放置3h。
③?紫外线照射预处理:采用标准中提到的优先A法,将安全帽放在紫外线照射箱中照射400h±4h,取出后在实验室环境中放置4h。
安全帽耐冲击、穿透性能试验机测试方法:
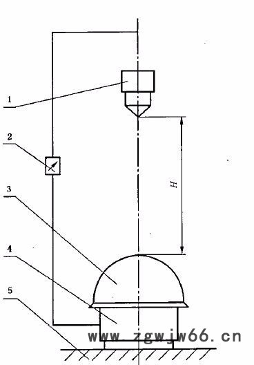
冲击吸收性能测试:根据安全帽的佩戴高度选择合适的头模;按照安全帽的说明书调整安全帽到正常使用状态,将安全帽正常佩戴在头模上,应保证帽箍与头模的接触为自然佩戴状态且稳定,调整落锤的轴线同传感器的轴线重合,调整落锤的高度为1000mm±5mm;依次对经浸水、高温、低温、紫外线照射预处理的安全帽进行测试。记录冲击值,准确到1N。
耐穿刺性能测试:根据安全帽的佩戴高度选择合适的头模;按照安全帽的说明书调整安全帽到正常的使用状态,将安全帽正常佩戴在头模上,保证帽箍与头模的接触为自然佩戴状态且稳定,调整穿刺锥的轴线使其穿过安全帽帽顶中心直径100mm范围内结构**薄弱处,调整穿刺锥尖至帽顶接触点的高度为1000mm±5mm,依次对经浸水、高温、低温、紫外线照射预处理的安全帽进行测试,观察通电显示装置和安全帽的破坏情况,记录穿刺结果。
安全帽耐冲击、穿透性能试验机特点:
①?落锤和冲击锤替换方式操作简单。
②?具有自动导向系统,以保证冲击锤和落锤准确准确落砸在安全帽上。
③?电动提升具有光电定位装置,自动定位**可靠。
④?冲击力专业高精度传感器,量程是2t,精度是±0.02%。
⑤?LED数字显示,自动保存**大力值。




