品牌:湘龙
材质:不锈钢
测量范围:安全帽
起订:1台
供应:1000台
发货:15天内
| 材质 | 不锈钢 |
|---|---|
| 测量范围 | 安全帽 |
| 测量精度 | 0.1 |
| 产品名称 | 安全帽紫外老化试验箱 |
| 产品用途 | 检测安全帽 |
| 电源 | 220.0 |
| 电源电压 | 220(V) |
| 封装 | DIP |
| 类型 | 电压监测仪 |
| 批号 | 11+ |
| 认证 | ISO9001 |
| 售后服务 | 保修一年 |
| 外形尺寸 | 1(mm) |
| 扬程 | 无 |
| 重量 | 40(kg) |
| 结构型式 | 分立式 |
| 品牌 | 湘龙 |
| 型号 | XL168-AN-009 |
| 加工定制 | 是 |
| 产品上市时间 | 2013年春 |
| 打样周期 | 1-2天 |
| 工作电源电压 | 220V |
本公司供应湘龙XL168-AN-009湘龙 XL168-AN-009 安全帽紫外老化试验箱 是 电压监测仪 分立式,质量保证,欢迎咨询洽谈。
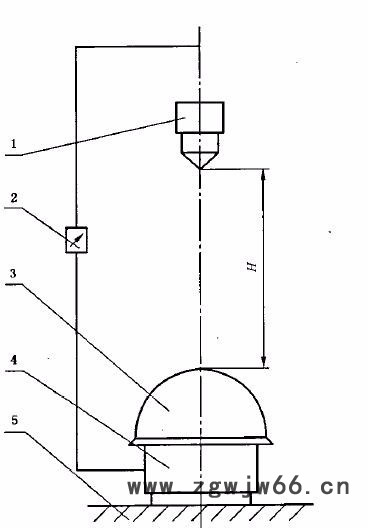
安全帽紫外老化试验箱
安全帽紫外老化试验箱是根据安全帽**国标设计,用于安全帽检测试验前的紫外线照射预处理的专用设备,应用于安全帽冲击吸收性能、耐穿刺性能预处理。
执行标准:GB/T2812-2006《安全帽测试方法》GB/T2811-2007《安全帽》
特点:
1**冷轧板电控箱体,304#不锈钢材质实验箱体;
2、采用高精度温控仪;





