| 种类 | 标准型气缸 |
|---|---|
| 缸径 | 32--500(mm) |
| 气缸数 | 3 |
| 理论作用力 | 50-8700(N) |
| 最大负荷 | 9850(N) |
| 最大力距 | 6500(Nm) |
| 重量 | 1-20(kg) |
| 适用范围 | 冶金机电、建筑机械、运输设备、家电、轻工、机床、医疗等行业自动化生产 |
| 加工定制 | 是 |
| 品牌 | AJL/奥佳灵 |
| 型号 | SC、QGB、QGA、JB |






气动执行元件和控制元件
气动执行元件是一种能量转换装置,它是将压缩空气的压力能转化为机械能,驱动机构实现直线往复运动、摆动、旋转运动或冲击动作。气动执行元件分为气缸和气马达两大类。气缸用于提供直线往复运动或摆动,输出力和直线速度或摆动角位移。气马达用于提供连续回转运动,输出转矩和转速。
气动控制元件用来调节压缩空气的压力流量和方向等,以保证执行机构按规定的程序正常进行工作。气动控制元件按功能可分为压力控制阀、流量控制阀和方向控制阀。
气缸
一、气缸的工作原理、分类及安装形式
1.气缸的典型结构和工作原理

图 1 普通双作用气缸
1、3-缓冲柱塞 2-活塞 4-缸筒 5-导向套 6-防尘圈7-前端盖 8-气口 9-传感器 10-活塞杆 11-耐磨环 12-密封圈 13-后端盖 14-缓冲节流阀
以气动系统中最常使用的单活塞杆双作用气缸为例来说明,气缸典型结构如(图1)所示。它由缸筒、活塞、活塞杆、前端盖、后端盖及密封件等组成。双作用气缸内部被活塞分成两个腔。有活塞杆腔称为有杆腔,无活塞杆腔称为无杆腔。
当从无杆腔输入压缩空气时,有杆腔排气,气缸两腔的压力差作用在活塞上所形成的力克服阻力负载推动活塞运动,使活塞杆伸出;当有杆腔进气,无杆腔排气时,使活塞杆缩回。若有杆腔和无杆腔交替进气和排气,活塞实现往复直线运动。
2.气缸的分类
气缸的种类很多,一般按气缸的结构特征、功能、驱动方式或安装方法等进行分类。分类的方法也不同。按结构特征,气缸主要分为活塞式气缸和膜片式气缸两种。按运动形式分为直线运动气缸和摆动气缸两类。
3.气缸的安装形式 气缸的安装形式可分为
1)固定式气缸 气缸安装在机体上固定不动,有脚座式和法兰式。
2)轴销式气缸 缸体围绕固定轴可作一定角度的摆动,有U形钩式和耳轴式。
3)回转式气缸 缸体固定在机床主轴上,可随机床主轴作高速旋转运动。这种气缸常用于机床上气动卡盘中,以实现工件的自动装卡。
4)嵌入式气缸 气缸缸筒直接制作在夹具体内。
二、常用气缸的结构原理
1.普通气缸
包括单作用式和双作用式气缸。常用于无特殊要求的场合。
图2为最常用的单杆双作用普通气缸的基本结构,气缸一般由缸筒、前后缸盖、活塞、活塞杆、密封件和紧固件等零件组成。
缸筒7与前后缸盖固定连接。有活塞杆侧的缸盖5为前缸盖,缸底侧的缸盖14为后缸盖。在缸盖上开有进排气通口,有的还设有气缓冲机构。前缸盖上,设有密封圈、防尘圈3,同时还设有导向套4,以提高气缸的导向精度。活塞杆6与活塞9紧固相连。活塞上除有密
封圈10,11防止活塞左右两腔相互漏气外,还有耐磨环12以提高气缸的导向性;带磁性开关的气缸,活塞上装有磁环。活塞两侧常装有橡胶垫作为缓冲垫8。如果是气缓冲,则活塞
两侧沿轴线方向设有缓冲柱塞,同时缸盖上有缓冲节流阀和缓冲套,当气缸运动到端头时,

图 2 普通双作用气缸
1,13-弹簧挡圈 2-防尘圈压板 3-防尘圈 4-导向套 5-杆侧端盖 6-活塞杆
7-缸筒 8-缓冲垫 9-活塞 10-活塞密封圈 11-密封圈 12-耐磨环 14-无杆侧端盖
缓冲柱塞进入缓冲套,气缸排气需经缓冲节流阀,排气阻力增加,产生排气背压,形成缓冲气垫,起到缓冲作用。
2.特殊气缸

图 3 薄膜气缸
1-缸体 2-膜片 3-膜盘 4-活塞杆
为了满足不同的工作需要,在普通气缸的基础上,通过改变或增加气缸的部分结构,设计开发出多种特殊气缸。
(1)薄膜式气缸 图3为膜片气缸的工作原理图。膜片有平膜片和盘形膜片两种 一般用夹织物橡胶、钢片或磷青铜片制成,厚度为 5~6mm(有用1~2mm厚膜片的)。
图13-3所示的膜片气缸的功能类似于弹簧复位的活塞式单作用气缸,工作时,膜片在压缩空气作用下推动活塞杆运动。它的优点是:结构简单、紧凑、体积小、重量轻、密封性好、不易漏气、加工简单、成本低、无磨损件、维修方便等,适用于行程短的场合。缺点是行程短,一般不超过50mm。平膜片的行程更短,约为其直径的1/10。
(2)磁性开关气缸 磁性开关气缸是指在气缸的活塞上安装有磁环,在缸筒上直接安装磁性开关,磁性开关用来检测气缸行程的位置,控制气缸往复运动。因此,就不需要在缸筒上安装行程阀或行程开关来检测气缸活塞位置,也不需要在活塞杆上设置挡块。
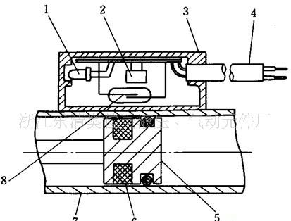
其工作原理如图13-4所示。它是在气缸活塞上安装永久磁环,在缸筒外壳上装有舌簧开关。开关内装有舌簧片、保护电路和动作指示灯等,均用树脂塑封在一个盒子内。当装有永久磁铁的活塞运动到舌簧片附近,磁力线通过舌簧片使其磁化,两个簧片被吸引接触,则开关接通。当永久磁铁返回离开时,磁场减弱,两簧片弹开,则开关断开。由于开关的接通或断开,使电磁阀换向,从而实现气缸的往复运动。

图4磁性开关气缸
1-动作指示灯 2-保护电路 3-开关外壳4-导线5-活塞6-磁环7-缸筒8-舌簧开关
气缸磁性开关与其它开关的比较见表3-1。
表3-1 气缸磁性开关与其它开关的比较
开关形式 | 控制原理 | 成本 | 调整安装复杂性 |
磁性开关 | 磁场变化 | 低 | 方便,不占位置 |
行程开关 | 机械触点 | 低 | 麻烦,占位置 |
接近开关 | 阻抗变化 | 高 | 麻烦,占位置 |
光电开关 | 光的变化 | 高 | 麻烦,占位置 |
(3)带阀气缸 带阀气缸是由气缸、换向阀和速度控制阀等组成的一种组合式气动执行元件。它省去了连接管道和管接头,减少了能量损耗,具有结构紧凑,安装方便等优点。带阀气缸的阀有电控、气控、机控和手控等各种控制方式。阀的安装形式有安装在气缸尾部、上部等几种。如图5 所示,电磁换向阀安装在气缸的上部,当有电信号时,则电磁阀被切换,输出气压可直接控制气缸动作。

图 5 带阀组合气缸
1-管接头2-气缸3-气管4-电磁换向阀5-换向阀底板6-单向节流阀组合件7-密封圈。
(4)带导杆气缸 图6为带导杆气缸,在缸筒两侧配导向用的滑动轴承(轴瓦式或滚珠式),因此导向精度高,承受横向载荷能力强。
|
图6典型带导杆气缸的结构
(5)无杆气缸 无杆气缸是指利用活塞直接或间接方式连接外界执行机构,并使其跟随活塞实现往复运动的气缸。这种气缸的最大优点是节省安装空间。
1)磁性无杆气缸 活塞通过磁力带动缸体外部的移动体做同步移动,其结构如图7所示。它的工作原理是:在活塞上安装一组高强磁性的永久磁环,磁力线通过薄壁缸筒与套在外面的另一组磁环作用,由于两组磁环磁性相反,具有很强的吸力。当活塞在缸筒内被气压推动时,则在磁力作用下,带动缸筒外的磁环套一起移动。气缸活塞的推力必须与磁环的吸力相适应。

图7 磁性无杆气缸
1-套筒 2-外磁环 3-外磁导板 4-内磁环 5-内磁导板 6-压盖 7-卡环8-活塞 9-活塞轴 10-缓冲柱塞 11-气缸筒 12-端盖 13-进、排气口
2)机械接触式无杆气缸 称机械接触式无杆气缸,其结构如图8所示。在气缸缸管轴向开有一条槽,活塞与滑块在槽上部移动。
为了防止泄漏及防尘需要,在开口部采用聚氨脂密封带和防尘不锈钢带固定在两端缸盖上,活塞架穿过槽,把活塞与滑块连成一体。活塞与滑块连接在一起,带动固定在滑块上的执行机构实现往复运动。
这种气缸的特点是:1) 与普通气缸相比,在同样行程下可缩小1/2安装位置;2)不需设置防转机构;3)适用于缸径10~80mm,最大行程在缸径≥40mm时可达7m;4)速度高,标准型可达0.1~0.5m/s;高速型可达到0.3~3.0m/s。
其缺点是:1)密封性能差,容易产生外泄漏。在使用三位阀时必须选用中压式;2)受负载力小,为了增加负载能力,必须增加导向机构。
|

图 8 机械接触式无杆气缸
l-节流阀2-缓冲柱塞3-密封带4-防尘不锈钢带 5-活塞 6-滑块 7-活塞架
(6)锁紧气缸 带有锁紧装置的气缸称为锁紧气缸。按锁紧位置分为行程末端锁紧型和任意位置锁紧型。
1)行程末端锁紧型气缸 如图9所示,当活塞运动到行程末端,气压释放后,锁定活塞1在弹簧力的作用下插入活塞杆的卡槽中,活塞杆被锁定。供气加压时,锁定活塞1缩回退出卡槽而开锁,活塞杆便可运动。

图9带端锁气缸的结构原理
a)手动解除非锁式 b)手动解除锁式。
1-锁定活塞2-橡胶帽3,12-帽4-缓冲垫圈5-锁用弹簧6-密封件7-导向套8-螺钉9-旋钮10-弹簧11-限位环
2)任意位置锁紧型气缸 按锁紧方式可分为卡套锥面式、弹簧式和偏心式等多种形式。卡套锥面式锁紧装置由锥形制动活塞6、制动瓦1、制动臂4和制动弹簧7等构成,其结构原理如图10所示。作用在锥状锁紧活塞上的弹簧力由于楔的作用而被放大,再由杠杆原理得到放大。这个放大的作用力作用在制动瓦1上,把活塞杆锁紧。要释放对活塞的锁紧,向供气口A′供应压缩空气,把锁紧弹簧力撤掉。

图10 制动气缸制动装置工作原理
a)自由状态b)锁紧状态l-制动瓦 2-制动瓦座3-转轴 4-制动臂 5-压轮 6-锥形制动活塞7-制动弹簧
(7)气动手爪 气动手爪这种执行元件是一种变型气缸。它可以用来抓取物体,实现机械手各种动作。在自动化系统中,气动手爪常应用在搬运、传送工件机构中抓取、拾放物体。
|
图 11 平行开合手指
气动手爪有平行开合手指(如图11所示)、肘节摆动开合手爪、有两爪、三爪和四爪等类型,其中两爪中有平开式和支点开闭式驱动方式有直线式和旋转式。
气动手爪的开闭一般是通过由气缸活塞产生的往复直线运动带动与手爪相连的曲柄连杆、滚轮或齿轮等机构,驱动各个手爪同步做开、闭运动。
(8)气液阻尼缸 气缸以可压缩空气为工作介质,动作快,但速度稳定性差,当负载变化较大时,容易产生“爬行”或“自走”现象。另外,压缩空气的压力较低,因而气缸的输出力较小。为此,经常采用气缸和油缸相结合的方式,组成各种气液组合式执行元件,以达到控制速度或增大输出力的目的。
气液阻尼缸是利用气缸驱动油缸,油缸除起阻尼作用外,还能增加气缸的刚性(因为油是不可压缩的),发挥了液压传动稳定、传动速度较均匀的优点。常用于机床和切削装置的进给驱动装置。
串联式气液阻尼缸的结构如图12所示。它采用一根活塞杆将两活塞串在一起,油缸和气缸之间用隔板隔开,防止气体串入油缸中。当气缸左端进气时,气缸将克服负载阻力,带动油缸向右运动,调节节流阀开度就能改变阻尼缸活塞的运动速度。
|

图12气液阻尼缸
(10)摆动气缸 摆动气缸是一种在小于360°角度范围内做往复摆动的气缸,它是将压缩空气的压力能转换成机械能,输出力矩使机构实现往复摆动。摆动气缸按结构特点可分为叶片式和活塞式两种。
1)叶片式摆动气缸 单叶片式摆动气缸的结构原理如图13所示。它是由叶片轴转子(即输出轴)、定子、缸体和前后端盖等部分组成。定子和缸体固定在一起,叶片和转子联在一起。在定子上有两条气路,当左路进气时,右路排气,压缩空气推动叶片带动转子顺时针摆动。反之,作逆时针摆动。
叶片式摆动气缸体积小,重量最轻,但制造精度要求高,密封困难,泄漏是较大,而且动密封接触面积大,密封件的摩擦阻力损失较大,输出效率较低,小于80%。因此,在应用上受到限制,一般只用在安装位置受到限制的场合,如夹具的回转,阀门开闭及工作台转位等。

图13 单叶片式摆动气缸工作原理图
1-叶片2-转子3-定子4-缸体
2)活塞式摆动气缸 活塞式摆动气缸是将活塞的往复运动通过机构转变为输出轴的摆动运动。按结构不同可分为齿轮齿条式、螺杆式和曲柄式等几种。
|
图14 齿轮齿条式摆动气缸结构原理
1-齿条组件2-弹簧柱销3-滑块4-端盖5-缸体6-轴承7-轴8-活塞9-齿轮
齿轮齿条式摆动气缸是通过连接在活塞上的齿条使齿轮回转的一种摆动气缸,其结构原理如图14所示。活塞仅作往复直线运动,摩擦损失少,齿轮传动的效率较高,此摆动气缸效率可达到95%左右。
公司主页:https://yyygqg./




