| 长×宽×高 | 240*285*245 |
|---|---|
| 功率 | 0.075 |
| 筛孔尺寸 | 1.6-3.2 |
| 重量 | 17 |
| 最大给料尺寸 | 0.35 |
| 品牌 | 宏达 |
| 型号 | LZF |
仓壁振动器也称防闭塞装置、仓壁振打器,用于防止和排除各种料仓由于物料的内摩擦、潮解、带电、成分偏析等原因引起的“堵塞”、“塔拱”现象;仓壁振动器也称防闭塞装置、仓壁振打器亦可用于清除各种仓壁、管道粘结物料,仓壁振动器也称防闭塞装置、仓壁振打器还可作为振动给料机、振动输送机、振动漏斗、振动溜槽的振。LZF系列防闭塞装置广泛应用于冶金、化工、建材、火电、煤炭、食品、水泥、制药、化肥、粮食、铸造、陶瓷、磨料等行业中贮料仓的防闭塞之用。振动筛和振动电机
LZF系列仓壁振动器(防闭塞装置)结构说明:
LZF型料仓振动破拱防闭塞装置是应用振动电机的一个典型实例,该装置以YZD型振动电机为激振源,采用焊接结构,台架与振动电机采用高强度螺栓紧固。

LZF系列仓壁振动器可用螺栓把底座固定于料仓底部的仓壁上,也可直接把底座焊接在料仓上,其固定(焊接)要牢靠,与仓壁连接的刚度越好,其使用效果**越好。
LZF系列仓壁振动器(防闭塞装置)结构及工作原理:
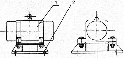
结构如图所示。由振动电机(1),底座(2)两部分组成。振动电机和底座由螺栓紧密地固定为一体。由于底座紧固地安装在料仓壁上,这样**构成了单质点定向强迫振动系统。
| 型号 | 适用料仓溜槽壁厚(mm) | 锥部仓容(T) | 配用振动电机 | 激振力(N) | 功率(KW) | 重量(Kg) | 外形尺寸长*宽*高(mm) |
| LZF-3 | 1.6-3.2 | 0.35 | YZU-0.7-2 | 700 | 0.075 | 17 | 240*285*245 |
| LZF-4 | 3.2-4.5 | 1 | YZU-1.5-2 | 1500 | 0.12 | 25 | 270-330*280 |
| LZF-5 | 4.5-6 | 3 | YZU-3-2 | 3000 | 0.25 | 35 | 280*330*280 |
| LZF-6 | 6-8 | 10 | YZU-5-2 | 5000 | 0.37 | 55 | 400*460*350 |
| LZF10 | 8-10 | 20 | YZU-10-2 | 10000 | 0.75 | 102 | 420*460*410 |
| LZF15 | 10-13 | 50 | YZU-20-2 | 20000 | 1.5 | 186 | 597*728*430 |
| LZF25 | 15-25 | 1 | YZU-30-2 | 30000 | 2.2 | 220 | 597*728*430 |
LZF型料仓振动防闭寒装置采用电机作为激振LZF型料仓振动防闭寒装置采用电机作为激振源。当LZF系列防闭塞装置工作时,振动电机的高速转动,便产生了对料仓壁的周期性高频振动,由于防闭塞装置的周期性振动,一方面使物料与仓壁脱离接触、消除物料与仓壁的摩擦,另一方面使物料受交变速度和加速度的影响,处于不稳定状态,从而有效地克服物料的内摩擦力和聚集力,以消除料仓内物料间的相对稳定性,使物料从料仓口顺利排出。
| 型号 | L | B1 | B | H | L2 | L1 | d |
| LZF-3 | 300 | 240 | 300 | 265 | 210 | 280 | φ11 |
| LZF-4 | 300 | 250 | 310 | 265 | 250 | 310 | φ11 |
| LZF-5 | 328 | 260 | 320 | 312 | 0.25 | 35 | φ15 |
| LZF-6 | 362 | 260 | 320 | 312 | 250 | 310 | φ17 |
| LZF-10 | 427 | 400 | 450 | 400 | 350 | 390 | φ22 |
| LZF-15 | 451 | 410 | 460 | 405 | 370 | 400 | φ32 |
| LZF-25 | 530 | 510 | 620 | 610 | 450 | 550 | φ34 |
LZF系列仓壁振动器(防闭塞装置)安装部位及方法:
1.全钢板制料仓:LZF型装置应当焊接在料仓仓壁面上。
2.全混凝土料仓及带加强钢筋制料仓,在仓内应敷设振动板,LZF型防闭塞装置应焊在振动板上。
3.上部为混凝土料仓,下部为钢制料斗。LZF型防闭塞装置应当焊接在干制料斗壁面上。
4.贮存纯粗块物料的料仓,这种物料的料仓,无论形式如何,均应在仓内敷设振动板。LZF型装置应焊在振动板上。
5.溜槽:LZF型防闭塞装置应焊在溜槽易粘,堵料的部位上。
LZF型防闭塞装置应安装在安装面的振动波腹段上,振动波腹段在安装面距上边或下边总长度的三分之一至四分之一的部位。
LZF系列仓壁振动器(防闭塞装置)操作与维护:
振动电机运转初期,由于螺栓、螺母与底座平面间的磨合,会降低紧固力,出现小的松动,故运转初期应将振动电机的底脚螺栓多次拧紧,开始时每天紧固一次,两周后每周检查紧固一次。

