
一片式内螺纹球阀属于手动阀类。
球阀是用带有圆形通道的球体作启闭件
球体随阀杆转动实现启闭动作的阀门。
球阀的启闭件是一个有孔的球体绕垂直于通道的轴线旋转从而达到启闭通道的目的。
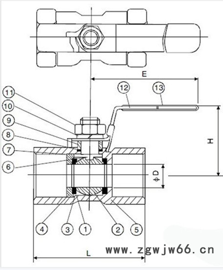
主 要 部 件

公称压力:1.6-6.4MPA Workng Pressure:1000WOG
使用温度20℃ 160℃ 180℃ 定做可以300℃
实用介质:水、油、气等液体。
螺纹类型:RC、G、ZG、BSPT、BSP、NPT、
硅溶胶精密铸造阀体
Investment Casting Body
序号ON. | 零件名称Part name | |
1 | 密封圈Joint ring | 聚四氟乙烯 |
2 | 球体BaII | SS201 SS304 SS316 |
2 | 密封垫Joint gasket | 四氟PTFE |
4 | 阀盖Cap | SS201 SS304 SS316 |
5 | 阀杆Stem | SS201 SS304 SS316 |
6 | 止推垫圈Thrust Washer | 四氟 |
7 | 填料STem Packing | 四氟 |
8 | 阀体Body | SS201 SS304 |
9 | 填料压盖螺母 | SS201 SS304 |
10 | 垫圈Stem Washer | SS201 SS304 SS316 |
11 | 阀杆螺帽stem nut | SS201 SS304 SS316 |
12 | 手柄套Handie cover | plastic |
13 | 手柄Handie | SS201 SS304 SS316 |
产 品 优 点
密封兴能好,结构简单,体积小,重量轻,流阻小等等优点
球阀在管路中主要用来切断,分配和改变介质的流动方向。
球阀是近年来被广泛采用的一种新型阀门、
它具有以下优点:
1、流体阻力小,其阻力系数与同长度管段相等。
2、结构简单、体积小、重量轻。
3、紧密可靠,目前球阀的密封面材料广泛使用塑料、密封性好,在真空系统中也广泛使用。
4、操作方,开关迅速,从全开到管只要旋转90°,便于远距离控制。
5、维修方便,球阀结构简,密封圈一般都是活动的,拆卸更换都比较方便。
6、在全开或全闭时,球体和阀座的密封面与介质隔离,介质通过时不会引起阀门密封面侵蚀。
7、7适用范围广泛,通径从小到几毫米,大道几米,从高真空至高压力都可应用。
8、旋转90°时,在进、出口处应全部呈现球面,从而截断流动。
适用于:
工作温度-10-180℃(密封圈为增强局四氟乙烯)(密封圈为对位聚苯)的各种管路上,用于截断或接通管路中介质。
选用不同材质,克分别适用于水、蒸汽、油品、硝酸、轻工、食品、医药、环保广泛用于石油,化工,冶金,电力等各种介质。

